Chain Tensioner / Idler wheels

- Chain tensioner and FR idler sprocket: essential parts for chain drives
- A large amount of chain slack can cause vibration and noise, and can lead to poor meshing with the sprocket, preventing smooth chain transmission.
- Tsubaki chain tensioners adjust chain slack to maintain normal chain transmission.
- The FR idler sprocket has a hub bearing, which transmits stable rotation.
Chain tensioner
| Product name and features | ||
|---|---|---|
|
CT-TCS type Oscillating tensioner with idler sprocket. *Go to Drive Chain Accessories page. |
Detail |
|
CT-ETS type Direct acting tensioner with idler sprocket. *Go to Drive Chain Accessories page. |
Detail |
|
CT-TA type Direct acting tensioner with plastic shoes. *Go to Drive Chain Accessories page. |
Detail |
|
CT-TH type Idler sprockets can be selected, making handling easier and more convenient *Go to Drive Chain Accessories page. |
Detail |
FR idler sprocket

- The hub bearing transmits stable rotation.
- A wide variety of models are available. Can also be used as an idler for the CT-TH type chain tensioner.
- *Two types: ball bearing specification and oil-less bush specification
Application Examples
Prevents sagging when the shaft distance is long
Intermediate idler for multi-shaft drive
When the chain winding angle is insufficient
Model number display example
| FR | B | - | RS40 | - | 15T | - | N |
| | | | | | |
| | |
| size |
| Number of teeth |
| Surface Treatment |
|||
| Bearing specifications B: Ball bearing specification L: Oil-less bushing specification |
N: No plating K: Electroless nickel-phosphorus plating |
||||||
| FR idler sprocket | |||||||
List of varieties and dimensions
Applicable chain numbers and number of teeth (all hardened tooth tips)
| chain number |
Number of teeth | ||||||||||||||||
|---|---|---|---|---|---|---|---|---|---|---|---|---|---|---|---|---|---|
| 9 | 10 | 11 | 12 | 13 | 14 | 15 | 16 | 17 | 18 | 19 | 20 | 21 | 22 | 23 | 24 | 25 | |
| RS35 | ● | ● | ● | ● | ● | ● | ● | ● | |||||||||
| RS40 | ● | ● | ● | ● | ● | ● | ● | ||||||||||
| RS50 | ● | ● | ● | ● | ● | ● | |||||||||||
| RS60 | ● | ● | ● | ● | |||||||||||||
| RS80 | ● | ● | ● | ● | ● | ||||||||||||
| Chain | Number of teeth | Pitch circle diameter Dp mm |
Outer diameter Do mm |
tooth width t mm |
Model number, DXF Drawing, 3D CAD data, PDF drawing | |||
|---|---|---|---|---|---|---|---|---|
| Ball bearing specifications | Oil-less bushing specifications | |||||||
| No plating | Electroless nickel-phosphorus plating | No plating | Electroless nickel-phosphorus plating | |||||
| RS35 | 18 | 54.85 | 60 | 4.4 | FRB-RS35-18TQ-N DXF・3DCAD・ PDF |
FRB-RS35-18TQ-K DXF・3DCAD・ PDF |
FRL-RS35-18TQ-N DXF・3DCAD・ PDF |
FRL-RS35-18TQ-K DXF・3DCAD・ PDF |
| 19 | 57.87 | 63 | FRB-RS35-19TQ-N DXF・3DCAD・ PDF |
FRB-RS35-19TQ-K DXF・3DCAD・ PDF |
FRL-RS35-19TQ-N DXF・3DCAD・ PDF |
FRL-RS35-19TQ-K DXF・3DCAD・ PDF |
||
| 20 | 60.89 | 66 | FRB-RS35-20TQ-N DXF・3DCAD・ PDF |
FRB-RS35-20TQ-K DXF・3DCAD・ PDF |
FRL-RS35-20TQ-N DXF・3DCAD・ PDF |
FRL-RS35-20TQ-K DXF・3DCAD・ PDF |
||
| 21 | 63.91 | 69 | FRB-RS35-21TQ-N DXF・3DCAD・ PDF |
FRB-RS35-21TQ-K DXF・3DCAD・ PDF |
FRL-RS35-21TQ-N DXF・3DCAD・ PDF |
FRL-RS35-21TQ-K DXF・3DCAD・ PDF |
||
| 22 | 66.93 | 72 | FRB-RS35-22TQ-N DXF・3DCAD・ PDF |
FRB-RS35-22TQ-K DXF・3DCAD・ PDF |
FRL-RS35-22TQ-N DXF・3DCAD・ PDF |
FRL-RS35-22TQ-K DXF・3DCAD・ PDF |
||
| 23 | 69.95 | 75 | FRB-RS35-23TQ-N DXF・3DCAD・ PDF |
FRB-RS35-23TQ-K DXF・3DCAD・ PDF |
FRL-RS35-23TQ-N DXF・3DCAD・ PDF |
FRL-RS35-23TQ-K DXF・3DCAD・ PDF |
||
| 24 | 72.97 | 78 | FRB-RS35-24TQ-N DXF・3DCAD・ PDF |
FRB-RS35-24TQ-K DXF・3DCAD・ PDF |
FRL-RS35-24TQ-N DXF・3DCAD・ PDF |
FRL-RS35-24TQ-K DXF・3DCAD・ PDF |
||
| 25 | 76.00 | 81 | FRB-RS35-25TQ-N DXF・3DCAD・ PDF |
FRB-RS35-25TQ-K DXF・3DCAD・ PDF |
FRL-RS35-25TQ-N DXF・3DCAD・ PDF |
FRL-RS35-25TQ-K DXF・3DCAD・ PDF |
||
| RS40 | 14 | 57.07 | 63 | 7.3 | FRB-RS40-14TQ-N DXF・3DCAD・ PDF |
FRB-RS40-14TQ-K DXF・3DCAD・ PDF |
FRL-RS40-14TQ-N DXF・3DCAD・ PDF |
FRL-RS40-14TQ-K DXF・3DCAD・ PDF |
| 15 | 61.08 | 67 | FRB-RS40-15TQ-N DXF・3DCAD・ PDF |
FRB-RS40-15TQ-K DXF・3DCAD・ PDF |
FRL-RS40-15TQ-N DXF・3DCAD・ PDF |
FRL-RS40-15TQ-K DXF・3DCAD・ PDF |
||
| 16 | 65.10 | 71 | FRB-RS40-16TQ-N DXF・3DCAD・ PDF |
FRB-RS40-16TQ-K DXF・3DCAD・ PDF |
FRL-RS40-16TQ-N DXF・3DCAD・ PDF |
FRL-RS40-16TQ-K DXF・3DCAD・ PDF |
||
| 17 | 69.12 | 75 | FRB-RS40-17TQ-N DXF・3DCAD・ PDF |
FRB-RS40-17TQ-K DXF・3DCAD・ PDF |
FRL-RS40-17TQ-N DXF・3DCAD・ PDF |
FRL-RS40-17TQ-K DXF・3DCAD・ PDF |
||
| 18 | 73.14 | 78 | FRB-RS40-18TQ-N DXF・3DCAD・ PDF |
FRB-RS40-18TQ-K DXF・3DCAD・ PDF |
FRL-RS40-18TQ-N DXF・3DCAD・ PDF |
FRL-RS40-18TQ-K DXF・3DCAD・ PDF |
||
| 19 | 77.16 | 83 | FRB-RS40-19TQ-N DXF・3DCAD・ PDF |
FRB-RS40-19TQ-K DXF・3DCAD・ PDF |
FRL-RS40-19TQ-N DXF・3DCAD・ PDF |
FRL-RS40-19TQ-K DXF・3DCAD・ PDF |
||
| 20 | 81.18 | 88 | FRB-RS40-20TQ-N DXF・3DCAD・ PDF |
FRB-RS40-20TQ-K DXF・3DCAD・ PDF |
FRL-RS40-20TQ-N DXF・3DCAD・ PDF |
FRL-RS40-20TQ-K DXF・3DCAD・ PDF |
||
| RS50 | 12 | 61.34 | 68 | 8.9 | FRB-RS50-12TQ-N DXF・3DCAD・ PDF |
FRB-RS50-12TQ-K DXF・3DCAD・ PDF |
FRL-RS50-12TQ-N DXF・3DCAD・ PDF |
FRL-RS50-12TQ-K DXF・3DCAD・ PDF |
| 13 | 66.33 | 73 | FRB-RS50-13TQ-N DXF・3DCAD・ PDF |
FRB-RS50-13TQ-K DXF・3DCAD・ PDF |
FRL-RS50-13TQ-N DXF・3DCAD・ PDF |
FRL-RS50-13TQ-K DXF・3DCAD・ PDF |
||
| 14 | 71.34 | 79 | FRB-RS50-14TQ-N DXF・3DCAD・ PDF |
FRB-RS50-14TQ-K DXF・3DCAD・ PDF |
FRL-RS50-14TQ-N DXF・3DCAD・ PDF |
FRL-RS50-14TQ-K DXF・3DCAD・ PDF |
||
| 15 | 76.35 | 84 | FRB-RS50-15TQ-N DXF・3DCAD・ PDF |
FRB-RS50-15TQ-K DXF・3DCAD・ PDF |
FRL-RS50-15TQ-N DXF・3DCAD・ PDF |
FRL-RS50-15TQ-K DXF・3DCAD・ PDF |
||
| 16 | 81.37 | 89 | FRB-RS50-16TQ-N DXF・3DCAD・ PDF |
FRB-RS50-16TQ-K DXF・3DCAD・ PDF |
FRL-RS50-16TQ-N DXF・3DCAD・ PDF |
FRL-RS50-16TQ-K DXF・3DCAD・ PDF |
||
| 17 | 86.39 | 94 | FRB-RS50-17TQ-N DXF・3DCAD・ PDF |
FRB-RS50-17TQ-K DXF・3DCAD・ PDF |
FRL-RS50-17TQ-N DXF・3DCAD・ PDF |
FRL-RS50-17TQ-K DXF・3DCAD・ PDF |
||
| RS60 | 11 | 67.62 | 76 | 11.9 | FRB-RS60-11TQ-N DXF・3DCAD・ PDF |
FRB-RS60-11TQ-K DXF・3DCAD・ PDF |
FRL-RS60-11TQ-N DXF・3DCAD・ PDF |
FRL-RS60-11TQ-K DXF・3DCAD・ PDF |
| 12 | 73.60 | 82 | FRB-RS60-12TQ-N DXF・3DCAD・ PDF |
FRB-RS60-12TQ-K DXF・3DCAD・ PDF |
FRL-RS60-12TQ-N DXF・3DCAD・ PDF |
FRL-RS60-12TQ-K DXF・3DCAD・ PDF |
||
| 13 | 79.60 | 89 | FRB-RS60-13TQ-N DXF・3DCAD・ PDF |
FRB-RS60-13TQ-K DXF・3DCAD・ PDF |
FRL-RS60-13TQ-N DXF・3DCAD・ PDF |
FRL-RS60-13TQ-K DXF・3DCAD・ PDF |
||
| 14 | 85.61 | 95 | FRB-RS60-14TQ-N DXF・3DCAD・ PDF |
FRB-RS60-14TQ-K DXF・3DCAD・ PDF |
FRL-RS60-14TQ-N DXF・3DCAD・ PDF |
FRL-RS60-14TQ-K DXF・3DCAD・ PDF |
||
| RS80 | 9 | 74.26 | 85 | 15.0 | FRB-RS80-9TQ-N DXF・3DCAD・ PDF |
FRB-RS80-9TQ-K DXF・3DCAD・ PDF |
FRL-RS80-9TQ-N DXF・3DCAD・ PDF |
FRL-RS80-9TQ-K DXF・3DCAD・ PDF |
| 10 | 82.20 | 93 | FRB-RS80-10TQ-N DXF・3DCAD・ PDF |
FRB-RS80-10TQ-K DXF・3DCAD・ PDF |
FRL-RS80-10TQ-N DXF・3DCAD・ PDF |
FRL-RS80-10TQ-K DXF・3DCAD・ PDF |
||
| 11 | 90.16 | 101 | FRB-RS80-11TQ-N DXF・3DCAD・ PDF |
FRB-RS80-11TQ-K DXF・3DCAD・ PDF |
FRL-RS80-11TQ-N DXF・3DCAD・ PDF |
FRL-RS80-11TQ-K DXF・3DCAD・ PDF |
||
| 12 | 98.14 | 108 | FRB-RS80-12TQ-N DXF・3DCAD・ PDF |
FRB-RS80-12TQ-K DXF・3DCAD・ PDF |
FRL-RS80-12TQ-N DXF・3DCAD・ PDF |
FRL-RS80-12TQ-K DXF・3DCAD・ PDF |
||
| 13 | 106.14 | 118 | FRB-RS80-13TQ-N DXF・3DCAD・ PDF |
FRB-RS80-13TQ-K DXF・3DCAD・ PDF |
FRL-RS80-13TQ-N DXF・3DCAD・ PDF |
FRL-RS80-13TQ-K DXF・3DCAD・ PDF |
||
All products are made to order.
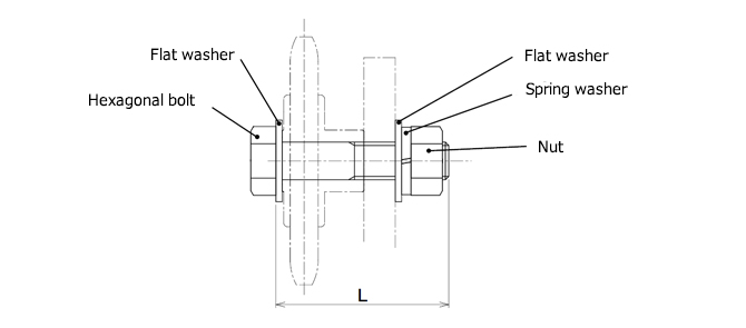
Option - Idler Bolt Set -
Idler bolt set type
| Model number | size | L (mm) |
|---|---|---|
| FR-PS45 | M12 | 45 |
| FR-PS55 | 55 | |
| FR-PS70 | 70 |
Accessory parts
- - 1 bolt, 1 nut, 3 flat washers
- ・1 spring washer (surface treatment: trivalent chromate)
Idler bolt installation example (ball bearing specifications)





