technical data Large size conveyor chain Handling

7. Usage Limitations

The usage limits for each part of the conveyor chain are described below, so please periodically inspect each part for wear.

This usage limit is a value determined based on the performance of the conveyor chain itself. If there is a limit in the use of the conveyor itself, use that as the standard.

Replace the chain and sprockets at the same time.

7.1 Limits of use of each part

7.1.1 R roller and F roller

The limit is when the bottom surface of the plate begins to contact the rail due to wear on the contact surface and the sliding part with the bushing.

The limits of R.F. Roller

The limits of R.F. Roller

Please note that if the rail has a curved section, the wear allowance will be reduced by the dimension equivalent to S as shown in the diagram below.

Reduced wear allowance

Reduced wear allowance

7.1.2 S, M, N Roller

When roller thickness is reduced to 40% due to wear.

7.1.3 Bushings

When the bushing thickness has decreased to 40% due to wear (this cannot be inspected externally).

7.1.4 Cottered type pin

When the pin diameter is reduced to 85% due to wear (this cannot be inspected externally)

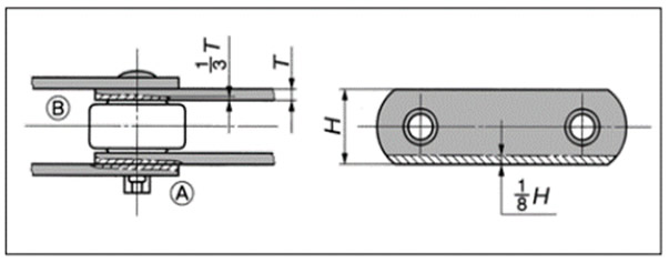
7.1.5 Plate Thickness and Width Wear

Sliding between the plates and between the side of the roller and the inside of the plate causes wear as shown in the diagram below (left) at AB.

The plate is considered to have reached the end of its life when the amount of wear exceeds one-third of the plate's normal thickness.

Also, when the plate slides directly on the conveyed object or on a steel plate, like the chain of a flow conveyor, the plate reaches the end of its life when the plate width H of the plate wears down to about 1/8H as shown in the diagram below (right).

Plate wear

Plate wear

7.1.6 Chain wear elongation

The chain bends when it engages with the sprocket or at the bend in the rail. This causes wear due to the sliding of the bushings and pins, which causes the chain to stretch in length.

The elongation limit for this chain is normally 2% of the standard length (pitch x number of links) (for a pitch of 100mm, the elongation is 2mm per link).

  • 1) How to measure chain length
    How to measure chain length

    Measure as many even links as possible (at least four links) at the tensioned point as shown in the diagram above.

    The measurement should be performed at position (A) or (B).

    (A) Center to center of pins

    (B) From one end of the pin to the other end

  • 2) Chain elongation rate (%)

    Measure the length of the chain using either method A or B, compare it with the reference length, and calculate the chain's elongation rate (%).

    Chain elongation = Measured dimension - Reference length Reference length × 100 (%)

7.1.7 Sprocket tooth surface wear and side wear

If the chain engages with a sprocket with worn teeth, the chain may wear out faster.

Just like the chain, check your sprockets regularly.

  • 1) Use the diagram below as a guide for the wear limit of the sprocket tooth surface.

    Tooth surface wear

    Tooth surface wear

    Wear on the sides of the teeth

    Wear on the sides of the teeth
  • 2) If the teeth are worn, we recommend replacing it. If tooth root is worn, do not use it in reverse.