technical data Drive Sprocket

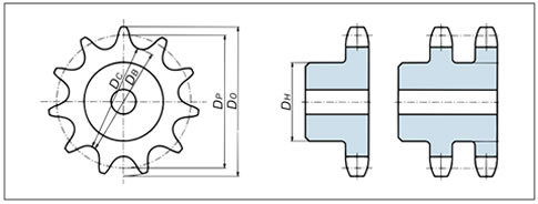
Part names and dimensions general formula

General Dimensions
  • D P = Pitch diameter
  • D O = standard outer diameter
  • D B = tooth root diameter
  • D C = tooth root distance
  • D H = Maximum hub diameter and maximum groove diameter
  • P = chain pitch
  • d l = roller outer diameter
  • N = number of teeth
  • DP = P/sin 180°N
  • DO = P (0.6 + cot 180°N)
  • DB = DP - dl
  • D C = D B [for even number of teeth]
  • D C = D P cos 90°N-d l [for odd number of teeth]
  • DH = P (cot 180°N - 1) - 0.76

Tooth specifications

1. Tooth profile

Our sprocket teeth are machine cut using the JIS standard S tooth profile.
Some parts also use JIS standard U-tooth profiles.

Tooth profile

S tooth profile

Tooth profile

U-tooth profile

  • pa = p(1 + DS - dlDP)
  • DS = 2R = 1.005dl + 0.076
  • U = 0.07(p - dl) + 0.051
  • R = DS/2 = 0.5025dl + 0.038
  • A = 35° + 60°/N
  • B = 18° - 56°/N
  • ac = 0.8dl
  • Q = 0.8dl cos(35° + 60°/N)
  • T = 0.8dl sin(35° + 60°/N)
  • E = cy = 1.3025dl + 0.038
  • xy = (2.605dl + 0.076) sin(9° - 28°/N)
  • yz = dl[1.4 sin (17° - 64°/N) - 0.8 sin(18° - 56°/N)]
  • G = ab = 1.4d l
    [Point b is on the line that makes an angle of 180°/N with line XY from point a on line XY.]
  • K = 1.4d l cos180°/N
  • V = 1.4dl sin180°/N
  • F = dl [0.8 cos (18° - 56°/N)+ 1.4 cos(17° - 64°/N) - 1.3025] - 0.038
  • calculation formula

    [S tooth profile is U = 0.]
  • S = pa2 cos180°/N + H sin180°/N
  • Outer diameter when the tooth tip is pointed = pa cot180°/N + 2H
  • Maximum pressure angle = x a b = 35° - 120°/N
  • Minimum pressure angle = x a b - B = 17° - 64°/N
  • Mean pressure angle = 26° - 92°/N

N = number of teeth, d l = roller outer diameter, DP = pitch circle diameter, p = chain pitch, pa = tooth pitch (a - a 1 for S tooth profile, e - e 1 for U tooth profile)

2. Teeth and width dimensions

Teeth and width dimensions
Size Each strand t (max) C
2 or more
strands
Double strand / Triple strand 4 or more strands
g
(reference)
h R
(minimum)
Single strand Double / triple strand 4 or more strands M2 M3 N M2 M3 M4 M5 M6 N
RS11 0.5 1.9 4.0 1.6 - - - - - - - - - - - -
RS15 0.6 2.4 5.1 2.0 - - - - - - - - - - - -
RS25 0.8 3.2 6.8 2.9 2.8 2.8 6.4 9.2 15.6 3.6 9.2 15.6 22.0 28.4 34.8 3.6
RS35 1.2 4.8 10.1 4.4 4.3 4.2 10.1 14.4 24.5 5.8 14.3 24.4 34.5 44.6 54.7 5.9
RS41 1.6 6.4 13.5 5.8 - - - - - - - - - - - -
RS40 1.6 6.4 13.5 7.3 7.1 7.0 14.4 21.5 35.9 7.3 21.4 35.8 50.2 64.6 79.0 7.4
RS50 2 7.9 16.9 8.9 8.7 8.6 18.1 26.8 44.9 9.4 26.7 44.8 62.9 81.0 99.1 9.5
RS60 2.4 9.5 20.3 11.9 11.7 11.4 22.8 34.5 57.3 11.1 34.2 57.0 79.8 102.6 125.4 11.4
RS80 3.2 12.7 27.0 15.0 14.6 14.3 29.3 43.9 73.2 14.7 43.6 72.9 102.2 131.5 160.8 15.0
RS100 4 15.9 33.8 18.0 17.6 17.2 35.8 53.4 89.2 18.2 53.0 88.8 124.6 160.4 196.2 18.6
RS120 4.7 19 40.5 24.0 23.5 23.0 45.4 68.9 114.3 21.9 68.4 113.8 159.2 204.6 250.0 22.4
RS140 5.5 22.2 47.3 24.0 23.5 23.0 48.9 72.4 121.3 25.4 71.9 120.8 169.7 218.6 267.5 25.9
RS160 6.3 25.4 54.0 30.0 29.3 28.7 58.5 87.8 146.3 29.2 87.2 145.7 204.2 262.7 321.2 29.8
RS180 7.1 28.6 60.8 33.7 33.0 32.3 65.8 98.8 164.6 32.8 98.1 163.9 229.7 295.5 361.3 33.5
RS200 8 31.8 67.5 36.0 35.2 34.4 71.6 106.8 178.4 36.4 106.0 177.6 249.2 320.8 392.4 37.2
RS240 9.5 38.1 81.0 45.0 44.0 43.1 87.8 131.8 219.6 43.8 130.9 218.7 306.5 394.3 482.1 44.7

Maximum sprocket hub diameter and typical maximum shaft bore diameter

Size RS25 RS35 RS40・41 RS50 RS60 RS80 RS100 RS120 RS140 RS160 RS180 RS200 RS240
chain
pitch
6.35 9.525 12.70 15.875 19.05 25.40 31.75 38.10 44.45 50.80 57.15 63.50 76.20
Number of teeth Hub
diameter
Maximum
shaft bore
diameter
Hub
diameter
Maximum
shaft bore
diameter
Hub
diameter
Maximum
shaft bore
diameter
Hub
diameter
Maximum
shaft bore
diameter
Hub
diameter
Maximum
shaft bore
diameter
Hub
diameter
Maximum
shaft bore
diameter
Hub
diameter
Maximum
shaft bore
diameter
Hub
diameter
Maximum
shaft bore
diameter
Hub
diameter
Maximum
shaft bore
diameter
Hub
diameter
Maximum
shaft bore
diameter
Hub
diameter
Maximum
shaft bore
diameter
Hub
diameter
Maximum
shaft bore
diameter
Hub
diameter
Maximum
shaft bore
diameter
10 13 3.2 19 8.8 26 14 32 18 39 22 52 32 65 42 78 50 92 60 105 70 118 78 131 88 158 108
11 15 5.6 22 11 30 18 37 22 45 27 60 38 76 50 91 60 106 71 121 80 137 92 152 103 183 126
12 17 7.2 25 13 34 20 43 26 51 31 69 45 86 57 103 69 121 80 138 93 155 106 173 118 207 144
13 19 8.8 28 15 38 22 48 30 57 36 77 51 96 64 116 79 135 91 155 105 174 119 193 132 232 162
14 21 10 31 17 42 26 53 33 64 41 85 57 107 72 128 85 150 101 171 117 192 132 214 148 257 180
15 23 12 35 20 46 28 58 37 70 46 93 61 117 80 140 95 164 111 187 129 211 146 235 163 282 199
16 25 13 38 21 50 31 63 41 76 51 102 68 127 85 153 104 178 122 204 141 229 159 255 179 306 216
17 27 14 41 24 54 34 68 45 82 53 110 74 137 93 165 112 193 132 220 152 248 173 275 193 331 232
18 29 16 44 26 59 37 73 49 88 59 118 80 148 100 177 121 207 144 237 165 266 186 296 208 355 252
19 31 17 47 29 63 41 79 51 94 62 126 84 158 108 189 129 221 153 253 177 284 199 316 224 380 268
20 33 19 50 30 67 44 84 55 100 66 134 90 168 114 202 140 235 163 269 188 303 213 337 238 404 283
21 35 20 53 33 71 47 89 59 107 72 142 95 178 122 214 148 250 175 285 200 321 226 357 254 429 303
22 37 21 56 35 75 50 94 62 113 77 150 101 188 128 226 157 264 185 302 212 339 239 377 266 453 318
23 39 22 59 37 79 51 99 65 119 80 159 109 199 137 238 165 278 196 318 224 358 254 398 278 477 338
24 41 24 62 40 83 54 104 70 125 83 167 113 209 144 251 176 292 205 334 235 376 265 418 294 502 354
25 43 25 65 42 87 57 109 73 131 88 175 120 219 152 263 184 307 217 351 249 394 275 438 310 526 372

Note) The maximum bore diameter should be determined by determining the hub thickness according to the operating conditions through general mechanical design.
For reference, the table shows the standard maximum bore diameter for a typical case (sprocket material SS400, JIS keyway). Note that this table was calculated using the JIS hub diameter calculation formula.