technical data linear actuator Linispeed Jack Allowable Overhang Load
Allowable overhang load
When mounting a sprocket, gear, belt, etc. on the input shaft, use the following formula to check that the overhang load acting on the shaft is below the allowable overhang load.
Allowable OHL ≧ T×f×Lf R
OHL: Overhanging Road N
T: Input torque N・m
f: Transmission element coefficient
Lf: Coefficient depending on the load application position
R: Pitch circle radius of sprocket, gear, V-pulley, etc. m
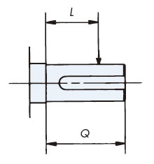
L: Load application position
Q: Shaft length
Table 2 Transmission element coefficient (f)
| Chain | 1.00 |
|---|---|
| Gears, toothed belts | 1.25 |
| V-belt | 1.50 |
| Flat belt | 2.50 |
Table 1 Allowable input shaft overhang load
| SJ015H | SJ030H | SJ050H | |
|---|---|---|---|
| Acceptable OHL (N) |
830 | 1280 | 1760 |
Table 3: Load coefficient (Lf) depending on load application position
| L/Q | 0.5 or less | 0.75 | 1 |
|---|---|---|---|
| Lf | 1 | 1.5 | 2 |

